香港e特快時效怎么樣?最近時效參考
香港e特快時效最近怎么樣呢?
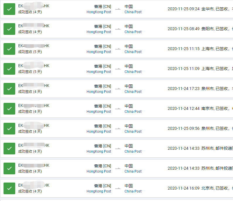
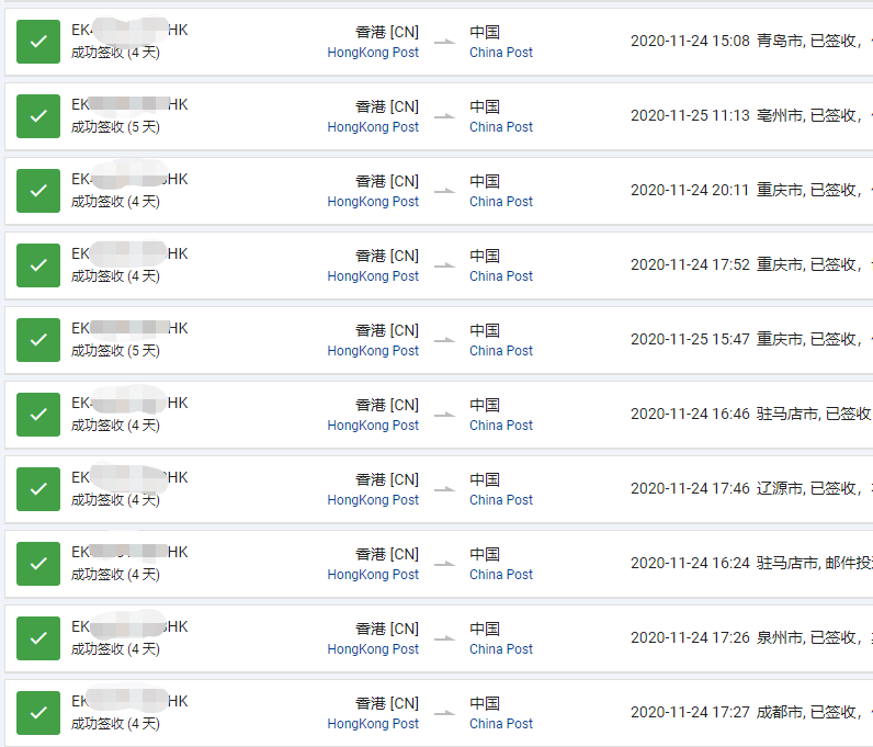
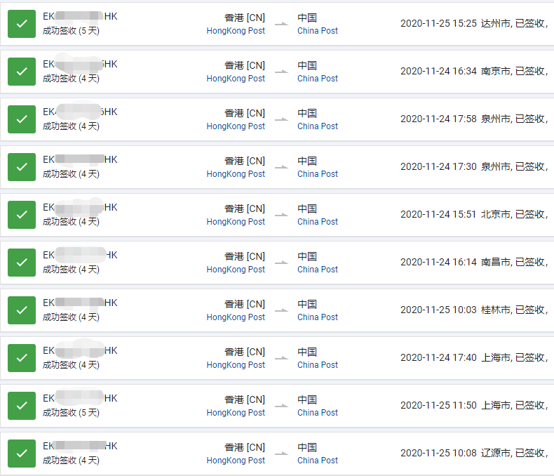
香港直郵是不是一直都很快呢?今天給大家看看到全國各地的時效,昨天和今天簽收的,給大家參考一下。
香港e特快一直是香港直郵的主力渠道,長期穩定順暢,給了大家非常好的直郵體驗,紅旗速運根據自己的發貨數據給大家一些大概參考,不代表所有貨物都是這個時效,但是大多時效都還是有參考價值的,時效也基本都很穩定。希望能給大家帶來更好的直郵體驗。










上面圖片大多是24號和25號簽收的包裹,大家可以參照一下,基本到全國各地的都有了。大家可以參照這個時效再加上香港打包發貨的時間大概算一下。
紅旗速運長期專注香港e特快,給大家提供非常專業的直郵服務,歡迎快遞,集運,物流,電商,本地商家,專柜,其他收貨點合作,同時也支持海外代購,香港代購,海淘等各種個人物品發貨,更多香港e特快相關資訊可以關注紅旗速運官網和公眾號,大家也可以百度或者google搜索香港e特快或者紅旗速運了解更多信息。

e特快據說是專門為小包裹設計的,走的是香港到廣州的專線,統一
小包裹模式更是機智,完美避開了大包裹容易被"盯上&
說到e特快,所有包裹在廣州清關后,直接派送到全國,而且支持寄
為什么選香港代收? 香港簡直是國際物流的“天選之地”! 1.
香港,為什么是你的包裹中轉站? 香港不僅是購物天堂,更是